Chroniq Posted February 1, 2013 Posted February 1, 2013 (edited) The idea of this thread is to provide an area to share the POSSIBLE future of themed entertainment. Many corporations spend millions of dollars researching ideas that may be implemented in parks tomorrow or may never even see the light of the day. So with that being said, here are a couple recent patent applications from Disney Imagineering. A little backstory first... Ed Nemeth (Principle Ride Systems Engineer for Disney Imagineering) and David Crawford (Director of Creative Advanced Development-Disney Imagineering) have been on a tear recently. In recent years Disney has patented an average of 3 ride designs in a year.. In the past 12 months they've filed 15 patents.. Disney is spending a lot on R&D these days (possibly for Shanghai Disney rides).. Anyway, here is their two most recent applications. Patent 1- Discusses an Omnimover based ride themed on Pirates of the Carribean. The invention is that this would be an ominmover ride with an included wave pool and drops. Think Splash Mountain with higher capacity and random waves hitting so each ride is different, with a story themed to Pirates of Carribean. Edited November 2, 2013 by Chroniq
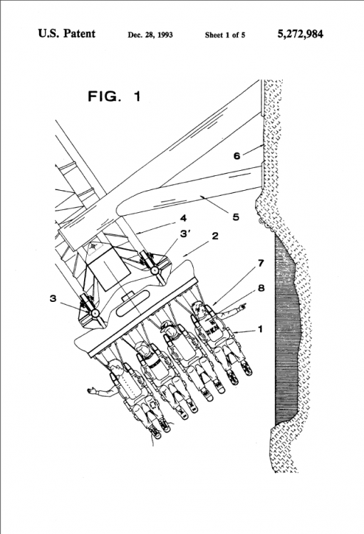
Chroniq Posted February 1, 2013 Author Posted February 1, 2013 Patent 2- Is a bit more interesting since I have no idea which ride theme Disney would implement this on.. So it's a rollercoaster ride, that once the ride leaves the station, the seats fall backwards. The patents claims the seats could move up and down based upon the ride profile but the "articulation" is done to give a sense of speed.. Here's a photo. Cool stuff it if ever gets built.
RoCo Posted February 1, 2013 Posted February 1, 2013 First of all, BRILLIANT idea for a thread! Second, that coaster seat idea is most intriguing; think about how they might use show elements with those changing postures, too.
larrygator Posted February 1, 2013 Posted February 1, 2013 That second one has me thinking that the riders would be staring at themeing (lighting/video) of some kind without obstrucion. Lying in that position forces you to look comfortably in only one direction. Images could "fly" by at a faster pace than the vehicle to emulate more speed.
Chroniq Posted February 1, 2013 Author Posted February 1, 2013 ^I agree.. the only guess I had was a space mountain type ride, that had the same "forces" of what's already been built, but seems much faster to the rider based upon the angle they are viewing the ride. Would love to hear everyone's thoughts on where this new type of roller coaster would make sense at a Disney park.
larrygator Posted February 1, 2013 Posted February 1, 2013 Where I think it might fit? I would say a park that doesn't exist yet. Either at Shanghai or Hong Kong (when a 2nd parks opens).
SLUSHIE Posted February 1, 2013 Posted February 1, 2013 The reclining coaster as it's presented looks like some dumb gimmick. Usually these things are explained in the most direct way possible and often don't explain the real intention for whatever is being shown though. One thing to note is that while reclined and going up a lift hill, the riders could end up laying perfectly flat on their back. With a space themed ride that alone provides some possibilities, as that could be used to simulate a vertical shuttle launch without the track having to be vertical. Imagine getting into the coaster in the normal seating position, the train the leaves the station and parks itself on a slope. The chairs then recline (with a countdown spiel and whatever) and it takes off with a mild launch.
Chroniq Posted February 1, 2013 Author Posted February 1, 2013 ^An interesting thing is this patent was filled by Derek Howard. The only other patent he holds is for the "rocking cars" of the Seven Dwarfs Mine Train Coaster.. He's currently working on Shanghai Disney ride systems. This patent also credits a number of other people currently working on Shanghai rides. So if they decide to build this ride at Shanghai, what does everyone think the theme would be?
SLUSHIE Posted February 2, 2013 Posted February 2, 2013 No idea. Going along with what I said before, maybe they could add these trains to Disneyland's Space Mountain. That would give the riders a more comfortable position in which to fall asleep while going up it's 3 lift hills.
jray21 Posted February 2, 2013 Posted February 2, 2013 The second one is pretty interesting. It's like a pseudo combination of Star Tours and Space Mountain. They could honestly use it with any theme. It will be interesting if these ever see the light of day.
boardwalkbullet91507 Posted February 2, 2013 Posted February 2, 2013 Oh no, those leaning cars look terrible. If the train hits the brakes too hard, it's going to slam the seats forward and wouldn't feel right (based on inertia), unless there is some sort of system to gently bring the cars up. Plus, it will probably not feel nice in the back if the seat bangs up your knee. I'm not a fan of this idea.
Angry_Gumball Posted February 2, 2013 Posted February 2, 2013 I'm not sure what technology they'd use for the reclining chairs, but doesn't a 4D coaster already essentially do this (ok, it does a little more of a full rotation more or less)? I can see a third guide rail being used to control the angle of the cars, much like the additional rails on a 4D coaster. Don't quote me on this though, just a thought. Reason why I brought up the 4D coaster, because it's something that works...so I don't see why something like this wouldn't work since the idea's already there to some extent.
robbalvey Posted February 2, 2013 Posted February 2, 2013 (edited) Oh no, those leaning cars look terrible. If the train hits the brakes too hard, it's going to slam the seats forward and wouldn't feel right (based on inertia), unless there is some sort of system to gently bring the cars up. Plus, it will probably not feel nice in the back if the seat bangs up your knee. I'm not a fan of this idea. *facepalm* Do you HONESTLY BELIEVE that Disney would spend millions of dollars and years designing and engineering a system that would injure riders, bang up your knees and be uncomfortable??? Have you ever been to Walt Disney World before???? *second facepalm* --Robb "Think before you post...help our forums appear like we have intelligent posters..." Alvey Edited February 2, 2013 by robbalvey
Someotherguyuser Posted February 2, 2013 Posted February 2, 2013 Oh no, those leaning cars look terrible. If the train hits the brakes too hard, it's going to slam the seats forward and wouldn't feel right (based on inertia), unless there is some sort of system to gently bring the cars up. Plus, it will probably not feel nice in the back if the seat bangs up your knee. I'm not a fan of this idea. This would sound far more believable if you were talking about SFMM. "YOLO!!!!! FIRST EVER RECLINING SEATS ON THE WORLD'S TALLEST vertical LOOP COASTER! You Only Lean Once! ***Guests complain about the seats slamming up on the brake run. Six Flags gets rid of the reclining seats after opening weekend*** But seriously though, I love looking up random permits for Disney rides that will or never come in the future to imagine the possibilities. This will be a fun thread for me to look at.
robbalvey Posted February 2, 2013 Posted February 2, 2013 The other thing you have to remember is, just because a bit of technology is patented for a "roller coaster", let's say, that doesn't always mean it has to be used on a fast moving ride (even if it says that.) For example, Spaceship Earth and Journey into Imagination are both built using "roller coaster track" and are slow-moving rides. This is something that could be applied to that as well. And companies patent ideas that never get used. Sometimes to stop other companies from doing the same.
Tanks4me05 Posted February 2, 2013 Posted February 2, 2013 I'm not sure what technology they'd use for the reclining chairs... Mount either a hydraulic cylinder or electric solenoid (the latter would probably be more likely; no risk of fluid leaks) mounted horizontally either in the nose of the car or lower in the chassis, and attach some stubby parallelogram linkages to the rotation points of the seat backs. Conceptually quite simple.
WFChris Posted February 2, 2013 Posted February 2, 2013 I can see the reclining seats being used briefly for some kind of 'warp speed' simulation.
bill_s Posted February 2, 2013 Posted February 2, 2013 They don't have to plan on using the invention to make it worth patenting. It could give them claim over something else someone comes up with. I also think large companies have large patent portfolios as a kind of defense -- you go after us, we'll find SOMETHING to fire back with. Or at least swamp you with lawyers.
Mechanic Posted February 2, 2013 Posted February 2, 2013 Aren't all these patents where the Chinese come up with their inspiration?
Krandor Posted February 4, 2013 Posted February 4, 2013 I can see the reclining seats being used briefly for some kind of 'warp speed' simulation. That would work well. Maybe in some kind of Star Wars ride.
Aceattack52 Posted February 5, 2013 Posted February 5, 2013 This isn't being talked about TODAY, but what I found was pretty interesting; it's patents submitted by B&M for the inverted coaster. As you view them, imagine if this information got out before B&M was able to build Batman at Six Flags Great America.
WFChris Posted February 5, 2013 Posted February 5, 2013 So anyway, I'm having trouble grasping the concept of the boat omnimover patent. I guess I don't understand how it will change elevation in a water setting without changing speeds....or even if it did, what the point of that would be without any acceleration or sense of speed while dropping. The concept of the waves is very cool, a great setting for an updated PoTC attraction, I just don't get the concept of elevation changes with an omnimover boat based ride. The closest thing I can think of is IASW, but thats not an omnimover...and there are no elevation changes. Is this clearer to anybody else?
Wags Posted February 5, 2013 Posted February 5, 2013 Wouldn't turbulence in the reclining position be uncomfortable, comparable to the Vekoma headbanging?
SLUSHIE Posted February 5, 2013 Posted February 5, 2013 ^^Looking at that image I have no clue either. I did a quick search to try and find the whole thing, but could't find it. I don't see how drops similar to Splash Mountain would be possible, and the image shows no change in elevation at all.
WFChris Posted February 5, 2013 Posted February 5, 2013 ^It does say Elev. 1 and Elev. 3, I would assume Elev. 2 is off the page, and I would also assume that Elev. means Elevation. Then again I am no engineer, I'm just trying to figure out how this concept works. I didn't really care at first but for some reason it's been bugging me!
Recommended Posts
Create an account or sign in to comment
You need to be a member in order to leave a comment
Create an account
Sign up for a new account in our community. It's easy!
Register a new accountSign in
Already have an account? Sign in here.
Sign In Now